產品名稱:三通隔膜閥

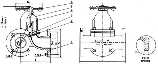
部件列表:1、閥體 2、隔膜 3、閥瓣 4、閥桿 5、閥蓋 6、手輪
二、三通隔膜閥用途:
三通隔膜閥用途:三通隔膜閥專用于控制非腐蝕性或一般腐蝕性介質,閥體內腔表面無襯里或覆有可供選擇的各種橡膠,適用于不同工作溫度和流體管路。 適用溫度:≤85℃、≤100℃、 ≤120℃、≤150℃(按照襯里和隔膜材料) 壓力等級:PN1.0
三、三通隔膜閥材料:
閥體:鑄鐵、球墨鑄鐵、碳鋼、不銹鋼 閥蓋:鑄鐵、球墨鑄鐵、碳鋼、不銹鋼 襯里:無襯里、橡膠 隔膜:橡膠 閥瓣:鑄鐵 閥桿:碳鋼、不銹鋼 手輪:鑄鐵
四、三通隔膜閥測試:
襯里層:電火花檢測 試驗與檢驗按GB/T13297標準 公稱壓力:PN(Mpa) 閥體:PN×1.5 密封:PN×1.1
五、三通隔膜閥結構特點:
隔膜閥是一種特殊形式的截止閥; 1、彈性密封的開閉件,確保沒有內漏; 2、流線型的流道,使得壓力損失小; 3、沒有填料函,因此沒有外漏; 4、閥體與蓋被中間隔膜隔開,使得隔膜上方的閥蓋,閥桿零件不受介質侵蝕; 5、隔膜可更換,維護費用低; 6、襯里材料的多樣性,可適用于各種介質,并具有良好的耐腐蝕性。
六、G49J三通隔膜閥主要尺寸及重量:
DN mm |
公稱壓力 MPa |
工作壓力 MPa |
L (mm) |
D (mm) |
D1 (mm) |
n-φd (mm) |
F (mm) |
H1 (mm) |
H2 (mm) |
D0 (mm) |
質量 |
25 |
1.0 |
1.0 |
160 |
96 |
115 |
85 |
4-14 |
108 |
120 |
66 |
5.5 |
32 |
180 |
118 |
135 |
100 |
4-18 |
138 |
157 |
96 |
8.5 |
40 |
200 |
135 |
145 |
110 |
4-18 |
147 |
167 |
96 |
12.5 |
50 |
230 |
150 |
160 |
125 |
4-18 |
167 |
192 |
96 |
17 |
65 |
290 |
182 |
180 |
145 |
4-18 |
194 |
229 |
165 |
24.5 |
80 |
310 |
210 |
195 |
160 |
4-18 |
212 |
252 |
230 |
33.5 | |